Мы используем cookie для наилучшего представления нашего сайта. Подробнее об этом в Политике конфиденциальности.
Ок

Химки

Ваш город:
Химки (Московская область)?
Нет
Да
Каталог
Каталог Написать в WhatsApp
Мотоэкипировка

Подвеска передняя снегохода STELS РОСОМАХА 800СС (ДВС GAOKIN)

Подвеска передняя снегохода STELS РОСОМАХА 800СС (ДВС GAOKIN) в Москве: актуальный каталог, цены, фото, описание. Купите подвеска передняя снегохода stels росомаха 800сс (двс gaokin) в кредит – оформите заявку онлайн за 1 минуту!

Оригинальные запчасти

Артикул НАИМЕНОВАНИЕ Кол-во деталей в узле Примечание Наличие Цена Аналоги Фото
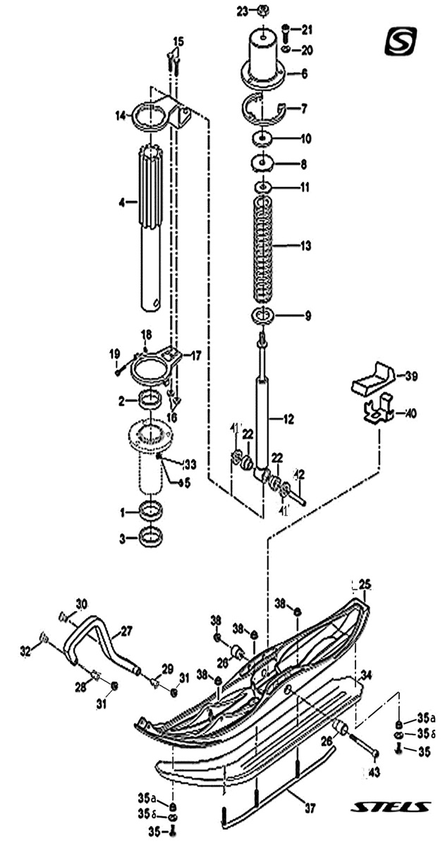
1 LU061176 Кожух передней стойки JU050834 S800 2400354 290104-800-0001

Под заказ

2

Под заказ

уточнить

9 670

Купить
2 JU051978 Ограничитель передней подвески 290106-800-0000

В наличии

2

В наличии

420

250

показать аналоги Купить
3 LU069377 Кольцо опорное S800 2400359 38,0х53.7х3,0мм 290108-800-0000 оцинкованное

В наличии

2

В наличии

330

100

Купить
4 LU069379 Шайба опорная 11х50х1,0мм оцинкованная, S800 2400357 290110-800-0000 оцинкованная

В наличии

2

В наличии

520

280

Купить
5 JU078924 Амортизатор передний (Белкард) 30.10.2905006

Под заказ

2

Под заказ

уточнить

3 390

показать аналоги Купить
6 RY000172 Амортизатор передней подвески в сборе

Под заказ

2
для Викинг 600/800 в...
для Викинг 600/800 версия 2.0 Согласно Извещения №3-2022 RY000172 Амортизатор передней подвески в сборе использовать вместо JU055763,LU069377,JU085451,LU069379

Под заказ

уточнить

показать аналоги Купить
7 JU055763 Пружина передней стойки S800 2800564 290111-800-0001

В наличии

1
Согласно Извещения №...
Согласно Извещения №3-2022 вместо JU055763,LU069377,JU085451,LU069379 использовать - RY000172 Амортизатор передней подвески в сборе

В наличии

5 200

6 630

Купить
8 LU070337 Ограничитель правый оцинкованный, сталь 290112-800-1300

В наличии

1
VIKING S600 / S800
VIKING S600 / S800

В наличии

980

3 050

показать аналоги Купить
9 JU106957 Рычаг правый S600 34001002

В наличии

1
VIKING S600 версия 2...
VIKING S600 версия 2.0

В наличии

1 100

2 580

показать аналоги Купить
10 JU107695 Рычаг правый S800 34001002

В наличии

1
VIKING S800 версия 2...
VIKING S800 версия 2.0

В наличии

1 110

2 370

показать аналоги Купить
11 LU070343 Ограничитель левый оцинкованный, сталь 290113-800-1300

В наличии

1
VIKING S600 / S800
VIKING S600 / S800

В наличии

980

1 820

показать аналоги Купить
12 JU106956 Рычаг левый S600 34001001

В наличии

1
VIKING S600 версия 2...
VIKING S600 версия 2.0

В наличии

1 090

показать аналоги Купить
13 JU107696 Рычаг левый S800 34001001

В наличии

1
VIKING S800 версия 2...
VIKING S800 версия 2.0

В наличии

1 070

2 760

показать аналоги Купить
14 JU052439 Гайка М6 DIN 6926

Под заказ

4

Под заказ

уточнить

40

Купить
15 JU061601 Гайка M4 самоконтр. c фланцем DIN 6926

Под заказ

4

Под заказ

уточнить

Купить
16 JU054895 Винт М8х 20 DIN 912 (класс прочности 8.8) 205082044

Под заказ

6

Под заказ

уточнить

50

Купить
17 JU056506 Гайка М10 DIN 6926 (DIN EN 1663) 233201414

В наличии

2

В наличии

300

350

показать аналоги Купить
18 JU078787 Втулка распорная 8,5х14,5х21мм, оцинкованная S800 2400371 S800 2400371

В наличии

2

В наличии

360

1 070

Купить
19 JU060966 Масленка М6 408200700

Под заказ

2

Под заказ

уточнить

270

Купить
20 LU066470 Конек в сборе правый (см.новый код – JU107672) S800 2400381

Под заказ

1
VIKING S600 / S800
VIKING S600 / S800

Под заказ

уточнить

показать аналоги Купить
21 LU066469 Конек в сборе левый (см.новый код – JU107672) S800 2400380

Под заказ

1
VIKING S600 / S800
VIKING S600 / S800

Под заказ

уточнить

4 710

показать аналоги Купить
22 JU056506 Гайка М10 DIN 6926 (DIN EN 1663) 233201414

В наличии

8

В наличии

300

350

показать аналоги Купить
23 JU058970 Винт М10х140 DIN 912

Под заказ

2

Под заказ

уточнить

1 500

Купить

Нулевая цена не означает отсутствие товара. Оформите заказ, и менеджер сообщит вам цену и наличие товара, предварительно запросив их у поставщика

Главная Магазины
Корзина0
Профиль