Мы используем cookie для наилучшего представления нашего сайта. Подробнее об этом в Политике конфиденциальности.
Ок

Химки

Ваш город:
Химки (Московская область)?
Нет
Да
Каталог
Каталог Написать в WhatsApp
Мотоэкипировка

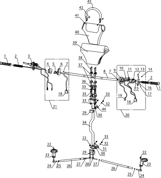
Управление рулевое С40301800 аннулировано в 08.2013, заменёно на С40302900 снегохода ТАЙГА ВАРЯГ 550 V

Управление рулевое С40301800 аннулировано в 08.2013, заменёно на С40302900 снегохода ТАЙГА ВАРЯГ 550 V в Москве: актуальный каталог, цены, фото, описание. Купите управление рулевое с40301800 аннулировано в 08.2013, заменёно на с40302900 снегохода тайга варяг 550 v в кредит – оформите заявку онлайн за 1 минуту!

Оригинальные запчасти

Артикул НАИМЕНОВАНИЕ Кол-во деталей в узле Примечание Наличие Цена Аналоги Фото
1 L30301520 Руль 88920

Под заказ

1

Под заказ

уточнить

Купить
2 V10300001 Рукоятка руля нов.обр. (); Тайга 88522

Под заказ

2

Под заказ

уточнить

Купить
3 C40300094 Корпус рычага тормоза 86480

Под заказ

1

Под заказ

уточнить

Купить
4 C41100550 Переключатель света со жгутом 75422

Под заказ

1

Под заказ

уточнить

Купить
5 C40300911 Ограничитель левый 86482

Под заказ

1

Под заказ

уточнить

Купить
6 C40300707 Труба руля 86481

Под заказ

1

Под заказ

уточнить

Купить
7 C40300906 Ограничитель правый 80157

Под заказ

1

Под заказ

уточнить

Купить
8 C40300033 Основание правое 15119

Под заказ

1

Под заказ

уточнить

Купить
9 C40300033 Основание правое 15119

Под заказ

1

Под заказ

уточнить

Купить
10 C41100540 Выключатель двигателя со жгутом 75418

Под заказ

1

Под заказ

уточнить

Купить
11 C40300029 Корпус рычага газа 14557

Под заказ

1

Под заказ

уточнить

240

Купить
12 C40300044 Ось 14971

Под заказ

1

Под заказ

уточнить

Купить
13 C41100170 Рычаг газа с нагревателем 14965

Под заказ

1

Под заказ

уточнить

Купить
14 DIN 125-PA Шайба 8 68960

Под заказ

1

Под заказ

уточнить

Купить
15 DIN 6799-P Шайба 3,2 86544

Под заказ

1

Под заказ

уточнить

Купить
16 502602 ОСТ 37.003.032-88 Колодка штыревая 13546

Под заказ

1

Под заказ

уточнить

Купить
17 L31100230 Блок переключателей руля правый 88924

Под заказ

1

Под заказ

уточнить

Купить
18 L31100220 Блок переключателей руля левый 88923

Под заказ

1

Под заказ

уточнить

Купить
19 C40300023-02 Тяга 15985

Под заказ

2

Под заказ

уточнить

Купить
20 C49801050 Подшипник руля C40300015 (2 шт.) в упаковке 127714

Под заказ

1

Под заказ

уточнить

Купить
21 C49801040 Подшипник руля C40300014 (2 шт.) в упаковке 127713

Под заказ

1

Под заказ

уточнить

Купить
22 C40300126 Планка (рулевой подшипник) тайга 500 18052

Под заказ

1

Под заказ

уточнить

720

Купить
23 DIN 127-PB Шайба 8 65160

Под заказ

4

Под заказ

уточнить

Купить
24 C40301040 Вал рулевой 82174

Под заказ

1

Под заказ

уточнить

Купить
25 C40300680 Проставка 89883

Под заказ

1

Под заказ

уточнить

Купить
26 L30300150 Наполнитель 86520

Под заказ

1
Аннулирован с 17.03...
Аннулирован с 17.03.16. Заменен на С40300970. Применяется совместно с С40302610; С40302920.

Под заказ

уточнить

Купить
27 L30300130 Чехол руля 86584

Под заказ

1

Под заказ

уточнить

Купить
28 C40300920 Держатель 82792

Под заказ

1

Под заказ

уточнить

Купить
29 C40300012 Планка 13937

Под заказ

1

Под заказ

уточнить

Купить

Нулевая цена не означает отсутствие товара. Оформите заказ, и менеджер сообщит вам цену и наличие товара, предварительно запросив их у поставщика

Главная Магазины
Корзина0
Профиль