Мы используем cookie для наилучшего представления нашего сайта. Подробнее об этом в Политике конфиденциальности.
Ок

Химки

Ваш город:
Химки (Московская область)?
Нет
Да
Каталог
Каталог Написать в WhatsApp
Мотоэкипировка

Запчасти для 2-х тактного ПЛМ ZONGSHEN T4BM, T5BM, T6BM

Запчасти для 2-х тактного ПЛМ ZONGSHEN T4BM, T5BM, T6BM в Москве: актуальный каталог, цены, фото, описание. Купите запчасти для 2-х тактного плм zongshen t4bm, t5bm, t6bm в кредит – оформите заявку онлайн за 1 минуту!
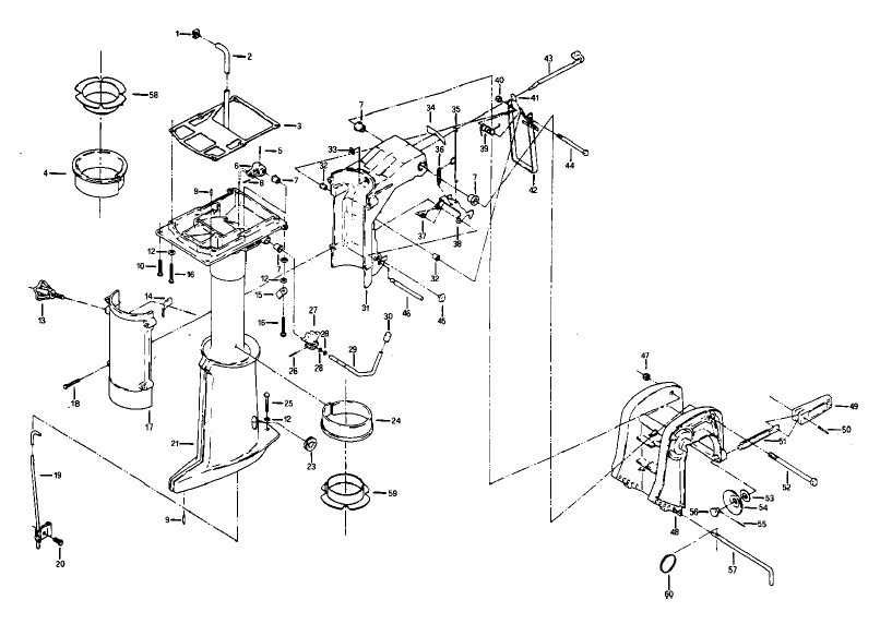
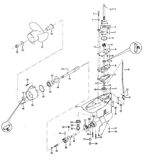
  • Каталог запчастей Zongshen T4BM, T5BM, T6BM Редакция 2014
Для ускорения поиска, Ты можешь ввести здесь часть названия детали, например «Поршень»

On-line каталоги

Главная Магазины
Корзина0
Профиль